返回列表 发帖
查看: 3597|回复: 4

[求助] 新手:宝塔上传程序文件后,打开网址显示错误404,求解

1

主题

4

回帖

0

粉丝

初学乍练

贡献
0 点
金币
4 个
发表于 2023-5-4 23:01:16 |河北| 查看全部 |阅读模式
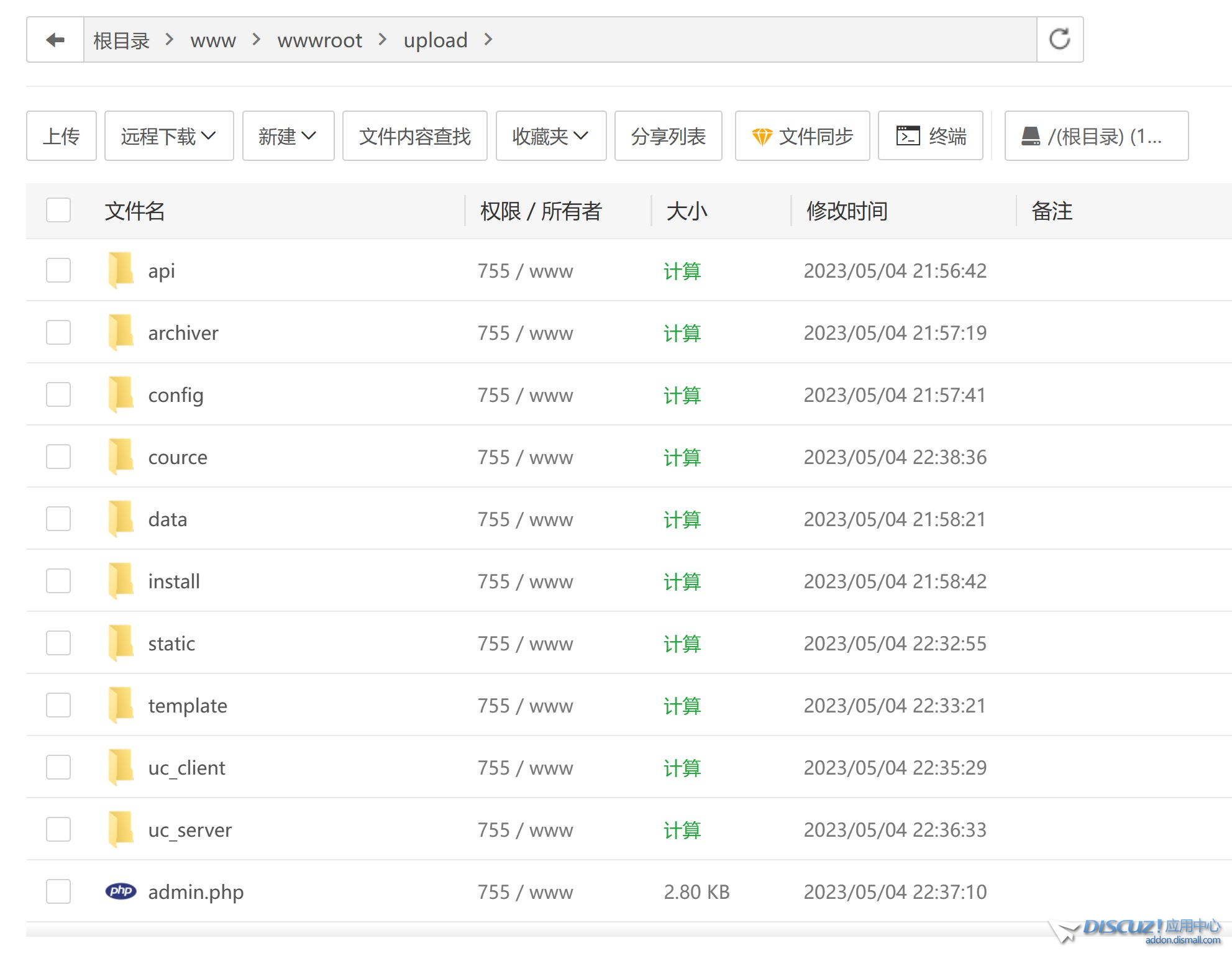
捕获.JPG

捕获1.JPG


是哪里的问题?求前辈帮忙。
我知道答案 回答被采纳将会获得1 贡献 + 1 金币 已有4人回答
回复

使用道具 举报

11

主题

1438

回帖

3

粉丝

应用开发者

DSVUE

贡献
72 点
金币
448 个
QQ
发表于 2023-5-4 23:12:02 |四川| 查看全部
看截图可能是你把程序文件放到upload目录了。放wwwroot这个根目录下看看。
回复

使用道具 举报

7

主题

838

回帖

2

粉丝

已臻大成

贡献
146 点
金币
95 个
发表于 2023-5-4 23:16:01 |马来西亚| 查看全部
不是上传upload文件夹,是上传upload文件夹里面的所有文件到根目录,
回复

使用道具 举报

1

主题

4

回帖

0

粉丝

初学乍练

贡献
0 点
金币
4 个
 楼主| 发表于 2023-5-4 23:35:21 |河北| 查看全部
文強 发表于 2023-5-4 23:16
不是上传upload文件夹,是上传upload文件夹里面的所有文件到根目录,

前辈,都移到根目录里了,打开网站还是提示错误404,还有别的原因吗?
回复

使用道具 举报

12

主题

1634

回帖

4

粉丝

Giter

贡献
151 点
金币
362 个
发表于 2023-5-5 02:55:50 |辽宁| 查看全部
大王饶命 发表于 2023-5-4 23:35
前辈,都移到根目录里了,打开网站还是提示错误404,还有别的原因吗?

注意是对应网站的根目录,不要放到整个服务器的根目录里去了
正常应该是先在面板创建网站,然后在网站那里点击进入管理文件,此时访问的才是对应网站的根目录
回复

使用道具 举报

您需要登录后才可以回帖 登录 | 立即注册

本版积分规则

  • 关注公众号
  • 有偿服务微信
  • 有偿服务QQ

手机版|小黑屋|Discuz! 官方交流社区 ( 皖ICP备16010102号 |皖公网安备34010302002376号 )|网站地图|star

GMT+8, 2026-4-29 03:57 , Processed in 0.049498 second(s), 16 queries , Redis On.

Powered by Discuz! X5.0 Licensed

© 2001-2026 Discuz! Team.

关灯 在本版发帖
有偿服务QQ
有偿服务微信
返回顶部
快速回复 返回顶部 返回列表