返回列表 发帖
查看: 3398|回复: 7

[已解决] 后台显示的数据库尺寸与附件尺寸与实际大小不符,如何处理?

78

主题

527

回帖

0

粉丝

自成一派

贡献
3 点
金币
0 个
发表于 2023-5-5 09:22:42 |安徽| 查看全部 |阅读模式
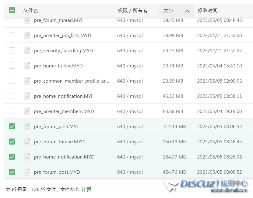
大家好。我的网站创建至今已有10多年了(2007年创建的),一开始使用的是phpwind程序,大概在2014年左右(具体哪年不记得了)转换为Discuz!,一开始是2.*版本的,后来一路升级到现在的Discuz!X3.4。近年来我一直困惑一件事:我的网站后台显示我的数据库尺寸与附件尺寸分别为1.4G和107.37G,与实际大小不符(特别是附件的尺寸大小与实际严重不符,我的整个网站目录才40个G),截图如下:


php错误2.png

php错误3.png

php错误.png

我想咨询下:

1、此种现象是什么原因产生的

2、如何让后台显示正确的数据库和附件的尺寸

3、那个pre_forum_post.MYD表占了400多M,可有什么办法进行优化?我通过网站后台的整理数据库碎片功能,没有什么效果的。

4、哪位大神能帮我的网站数据优化下(网站程序从一开始的phpwind一路升级N个版本后转换至Discuz2.*,再一路升级至现在的3.4版本,在转换、升级的过程中,可能产生了大量的无用数据)

请版主和各位大神指导下,诚挚感谢。


1 贡献+1 金币

最佳答案

数据库大小,统计的是所有和论坛表前缀一样的表的数据大小+索引大小
附件大小,统计的是论坛附件表里记录的附件大小总和,不是你网站文件大小
回复

使用道具 举报

78

主题

527

回帖

0

粉丝

自成一派

贡献
3 点
金币
0 个
 楼主| 发表于 2023-5-5 09:36:12 |安徽| 查看全部
补充:我的网站现在有注册会员214633人,这其中估计有3/5是通过注册机非法注册的,请问如何筛查出这些僵尸会员并删除?
回复

使用道具 举报

17

主题

588

回帖

4

粉丝

应用开发者

贡献
67 点
金币
902 个
QQ
发表于 2023-5-5 09:39:53 |浙江| 查看全部
数据库大小,统计的是所有和论坛表前缀一样的表的数据大小+索引大小
附件大小,统计的是论坛附件表里记录的附件大小总和,不是你网站文件大小
回复

使用道具 举报

5

主题

206

回帖

3

粉丝

炉火纯青

贡献
4 点
金币
20 个
QQ
发表于 2023-5-5 10:30:40 |广西| 查看全部
这个不用管的,统计方式都不同
回复

使用道具 举报

78

主题

527

回帖

0

粉丝

自成一派

贡献
3 点
金币
0 个
 楼主| 发表于 2023-5-5 11:02:03 |安徽| 查看全部
1314学习网 发表于 2023-5-5 09:39
数据库大小,统计的是所有和论坛表前缀一样的表的数据大小+索引大小
附件大小,统计的是论坛附件表里记录的 ...

你好,好像不是这样的》

我的服务器上有两个网站,程序是一样的,数据库表的前缀都是pre_,另一个站点后台显示的数据库尺寸为600M,如果按照你解释的那样,那这两个网站后台显示的数据库尺寸应该是一样的啊。
回复

使用道具 举报

17

主题

588

回帖

4

粉丝

应用开发者

贡献
67 点
金币
902 个
QQ
发表于 2023-5-5 14:45:02 |浙江| 查看全部
白天也懂夜的黑 发表于 2023-5-5 11:02
你好,好像不是这样的》

我的服务器上有两个网站,程序是一样的,数据库表的前缀都是pre_,另一个站点后 ...

你两个站在不同的库里,就像你家的电表统计不到别人家的电费
回复

使用道具 举报

6

主题

1671

回帖

4

粉丝

应用开发者

贡献
48 点
金币
180 个
产品版本
X5.0+
QQ
发表于 2023-5-5 16:59:19 |浙江| 查看全部
统计方式不一样,垃圾注册的话可以加强防御和注册验证码等措施。
回复

使用道具 举报

78

主题

527

回帖

0

粉丝

自成一派

贡献
3 点
金币
0 个
 楼主| 发表于 2023-5-5 19:25:07 |安徽| 查看全部
1314学习网 发表于 2023-5-5 14:45
你两个站在不同的库里,就像你家的电表统计不到别人家的电费

哦,我是针对你前面的那条回复内容产生疑问的
“数据库大小,统计的是所有和论坛表前缀一样的表的数据大小+索引大小...”
回复

使用道具 举报

您需要登录后才可以回帖 登录 | 立即注册

本版积分规则

  • 关注公众号
  • 有偿服务微信
  • 有偿服务QQ

手机版|小黑屋|Discuz! 官方交流社区 ( 皖ICP备16010102号 |皖公网安备34010302002376号 )|网站地图|star

GMT+8, 2026-4-29 03:57 , Processed in 0.048166 second(s), 12 queries , Redis On.

Powered by Discuz! X5.0 Licensed

© 2001-2026 Discuz! Team.

关灯 在本版发帖
有偿服务QQ
有偿服务微信
返回顶部
快速回复 返回顶部 返回列表